ngã cầu thang

Ngã cầu thang trong lúc chơi, bé 3 tuổi bị vỡ xương sọ, tụ máu ngoài màng cứng
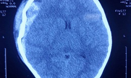
Y tế - 18/10/2025 13:14SKĐS - Trong lúc chơi một mình, bé 3 tuổi không may bị ngã cầu tháng dẫn đến vỡ xương sọ, tụ máu ngoài màng cứng. Phát hiện tình trạng bất thường, gia đình vội đưa trẻ đến bệnh viện thăm khám và may mắn được bác sĩ phẫu thuật thành công.